Gość S@lmo Opublikowano 1 Marca 2011 Zgłoś Udostępnij Opublikowano 1 Marca 2011 Witam Składam wędkę i będąc na etapie przelotek przyjrzałem się trochę Fuji New Guide Concept (dla spinningów) włącznie z poczytaniem ogólnych opinii dostępnych w Internecie. Chciałbym skonfrontować to co sam przemyślałem i policzyłem z wiedzą kolegów, którzy się tym zajmują profesjonalnie. WIEM, czytałem i w sumie chyba popieram , że najlepiej jest zbroić na czuja i metodą kolejnych przybliżeń ale wchodzę z założenia, że w każdej nowince jest jakieś ziarno prawdy oprócz marketingu. W FNGC chciałbym się do niego dokopać i ocenić jego wielkość.Opierałem się na tym opracowaniu http://www.kowafuji.com/ngc.htm. Bazując na założeniach pokazanych na trzecim rysunku od góry i kołowrotku shimano wielkości 4000 i 2500 (średnice szpul i ich odległości od blanku) przeliczyłem rozstawienie proponowanych przez FNGC przelotek aby spełnić warunek wpasowania się w stożek jaki tworzy wysnuwająca się linka od szpuli do tzw. intersection point. Zakładam, że o to chodzi zarówno na tym rysunku jak i w samej idei. Przeliczyłem wszystkie przelotki choć głównie przyglądałem się Y30 i L07 bo na pierwszej stożek się zaczyna a na drugiej kończy.Obliczenia i tzw. wizus nijak się ma do spacingu jaki podaje Fuji np. tu: http://www.merricktackle.com/tips/Fuji-new-Light-Chart1.pdf Według mnie przelotki w FNGC są zbyt odległe i przez to ich osie są zbyt wysoko względem osi blanku oraz aby wpasować się optymalnie w stożek. Z moich obliczeń oraz doświadczenia empirycznego wynika, że zarówno intersection point jaki i największa przelotka powinny być znacznie bliżej rękojeści niż podje to tabela. W FNGC całość jest jakby istotnie przesunięta do przodu (bliżej szczytówki) względem sposobu zbrojenia jaki znamy z polskich pracowni.Żaden z badanych przeze mnie, popularnej wielkości kołowrotków, oraz długości blanków (7-9) nie spełnia wymogów tabeli FNGC. I teraz mam pytanie do praktyków, czy to ja nie rozumiem FNGC i popełniam gdzieś błąd, czy może ktoś z Was wie skąd takie rożnice wynikają, zna techniczne uzasadnienie takiego podejścia oraz czy ktoś stosuje/kiedykolwiek próbował stosować spacing FNGC literalnie.Według mnie dla blanku 8 zbrojonego tradycyjnie powiedzmy V30-V20-V12-V10-L08-L07 3xL06 + szczyt a konceptem Fuji jest kolosalna różnica zarówno w spacingu jak i wyglądzie gotowego wędziska, nie wspominając o jego parametrach pracy.Oczywiście w żadnym przypadku nie przesądzam, które zbrojenie jest lepsze - interesuje mnie tylko aspekt techniczny i uzasadnienie takich różnic w podejściu. Pozdrawiam Trutta Cytuj Odnośnik do komentarza Udostępnij na innych stronach Więcej opcji udostępniania...
Friko Opublikowano 1 Marca 2011 Zgłoś Udostępnij Opublikowano 1 Marca 2011 @trutta - jako że nie zajmuję się profesjonalnie rodbuildingiem to pewnie nie powinienem się wypowiadać, więc wybacz że się nie powstrzymam, ale tak się składa że kiedyś też nurtował mnie podobny problem i... doszedłem do podobnych wniosków jak Ty. Moim zdaniem Fuji New Concept, czy New Concept Primer rodem z rodbuilding.org - jesli sie sprawdzają to tylko przy bardzo krotkich wedkach - 6'0 - 6'6 czyli pewnie takich, dla jakich były tworzone. Kąt nachylenia kołowrotków spinningowych jest tak duży, ze przy dłuższych kijach i normalnej długości dolnika, wyszłaby po prostu karykatura nie nadająca się do łowienia - tak uważam <_< więc metoda looks good to me rządzi. A tak poważnie, nie ma lekko, trzeba znajdowac optimum metodą prób i błedów - różne typy ramek, różne wielkosci, różne rozstawy. Trzeba uwzględnić wielkosc kołowrotka, rodzaj i grubośc linki oraz warunki w których kij będzie użytkowny (np. co ważniejsze - żeby rzucac daleko, żeby wędka była czyła, zeby wolniej obmarzały przelotki etc). Nie ma jednego optymalnego uzbrojenia dla danego blanku - optymalnych uzborjen moze byc wiele, w zaleznosci od tego cos sie chce osiagnac... A w ogóle to witam na Forum Cytuj Odnośnik do komentarza Udostępnij na innych stronach Więcej opcji udostępniania...
Gość S@lmo Opublikowano 1 Marca 2011 Zgłoś Udostępnij Opublikowano 1 Marca 2011 Friko - cenny jest każdy rozsądny głos, nawet nie pochodzący od zawodowego zbrojarza wędek i wielkie dzięki za jego zabranie. Potwierdza to w fakt, że mój proces myślowy całkowicie nie pobłądził a dodatkowo może ten post komuś zaoszczędzi ponownego wyważania otwartych drzwi. Moim zdaniem Fuji New Concept, czy New Concept Primer rodem z rodbuilding.org - jesli sie sprawdzają to tylko przy bardzo krotkich wedkach - 6'0 - 6'6 czyli pewnie takich, dla jakich były tworzone. He, he miałem nadzieję, że ktoś to dopisze bo to dodatkowo potwierdza również moje spostrzeżenia.Większość kołowrotków ma podobne nachylenie osi rotora, ale różną się odległością płaszczyzny szpuli od blanku i to głównie decyduje o położeniu punktu przecięcia. A czy ktoś mi doradzi w takiej kwestii: Blank 2.40, 10-30gr. mocny ale subtelny, linka (plecionka) max 25lb. zazwyczaj 14-16lb.Mam taką możliwość zbrojeniaV30-V20-V12-V10....... alconite/sicY25-Y16-Y10-Y08....... alconite/sic Czy jeden czy drugi - o tym decyduje największa przelotka. Z jednej strony bardzo lubię małe średnice (z wszelkimi niedogodnościami) i ramkę Y z drugiej preferuję niskie stopki czyli V.Wybrałbym Y-ki bo podobają mi się te przelotki i dodatkowo są lżejsze od V-ek. Jednak mam wątpliwość czy Y25 (w praktyce) nie będzie zbyt wąska dla szpul rozmiaru 4000. Piszę w praktyce bo z obliczeń wynika, że będzie OK. - pozostaje kwestia praktyki. Y30 nie wchodzi w grę bo strasznie odstaje od blanku i niezbyt mi się to podoba. PozdrawiamTrutta ps. dzięki za powitanie, również bardzo mi miło. Cytuj Odnośnik do komentarza Udostępnij na innych stronach Więcej opcji udostępniania...
wiktos Opublikowano 1 Marca 2011 Zgłoś Udostępnij Opublikowano 1 Marca 2011 Witaj, o samym rodbuildingu mam praktycznie zerowe pojęcie ale wydaje mi się, że już 15lb plecionka może się ,,dusić w przelotce startowej 25. Łowię często na Wisełce i 20lb PP z jednego kijka bardzo słabo lata ze względu na za małe przelotki(może tylko 2 pierwsze)... Takie jest moje zdanie (wędkarza, nie rodbuildera).Pozdrawiam Cytuj Odnośnik do komentarza Udostępnij na innych stronach Więcej opcji udostępniania...
Hubertus Opublikowano 1 Maja 2011 Zgłoś Udostępnij Opublikowano 1 Maja 2011 WitamMam takie pytanko, jak się ma FNCG do cięższych kijków.Dla przykładu jestem w posiadaniu studyjnego Robinsona Diaflexa 2,85m 15-45g, kijek bez napisów, goły surowy blank, rękojeść i przelotki, nie jest to FUJI ale nie jest najgorzej. Jesienią trochę nim łowiłem, jednak odkąd zacząłem studiować forum, coś mi nie pasowało.Kijek uzbrojony jest następująco i czas go przerobić. Obecnie wygląda to tak,na moje oko: 1: według mnie MN 30 7: L 88; L 8szczyt nie mam pojęcia Ja myślę nad takim zestawem LV 30 (ewentualnie SV 30)LV 20LV 16LV 10LV 8LV 8LV 7LV 7F 8 Chyba że koledzy mają własne propozycje i uwagi, chętnie wysłucham Cytuj Odnośnik do komentarza Udostępnij na innych stronach Więcej opcji udostępniania...
Hubertus Opublikowano 1 Maja 2011 Zgłoś Udostępnij Opublikowano 1 Maja 2011 A tak wygląda kijek pod statycznym obciążeniem 400g Cytuj Odnośnik do komentarza Udostępnij na innych stronach Więcej opcji udostępniania...
Hubertus Opublikowano 2 Maja 2011 Zgłoś Udostępnij Opublikowano 2 Maja 2011 wiem że wątek nieco odgrzany ale nie chciałem nowego tworzyć, chciałem poznać opinię kolegów Cytuj Odnośnik do komentarza Udostępnij na innych stronach Więcej opcji udostępniania...
Friko Opublikowano 5 Maja 2011 Zgłoś Udostępnij Opublikowano 5 Maja 2011 @Hubertus, przelotka na trzecim zdjęciu wygląda raczej na jakiś odpowiednik LV ale to szczegół. Trudno jest odpowiedziec na Twoje pytanie na podstawie tych fotek. Przelotka dwustopkowa rozmiaru #30 w cięższym kiju jak najbardziej może znajdować zastosowania. Pytanie tak naprawdę brzmi - co chcesz osiągnąc ew. przezbrajajac kij? Co Ci nie leży w obecnym zbrojeniu, co chcialbyś zmienić i jaki efekt uzyskać? Zestaw przelotek jaki podałeś wagowo np. nie różni się jakoś radykalnie od zestawu który podałeś jako wyjściowy więc, jeżeli łowisz na grubszą żyłkę może trochę pomóc rzutowo ze względu na więszką średnicę przelotek - przy plecionce podejrzewam ze nie będzie większej różnicy Jeżeli problemem jest tarcie na pierwszej przeltoce od kołowrotka - można ja albo odsunąc trochę dalej albo wymienić na ciut wyższą... i tak dalej, i tak dalej. W zależności od tego co przeszkadza / co chce się osiągnąć. Cytuj Odnośnik do komentarza Udostępnij na innych stronach Więcej opcji udostępniania...
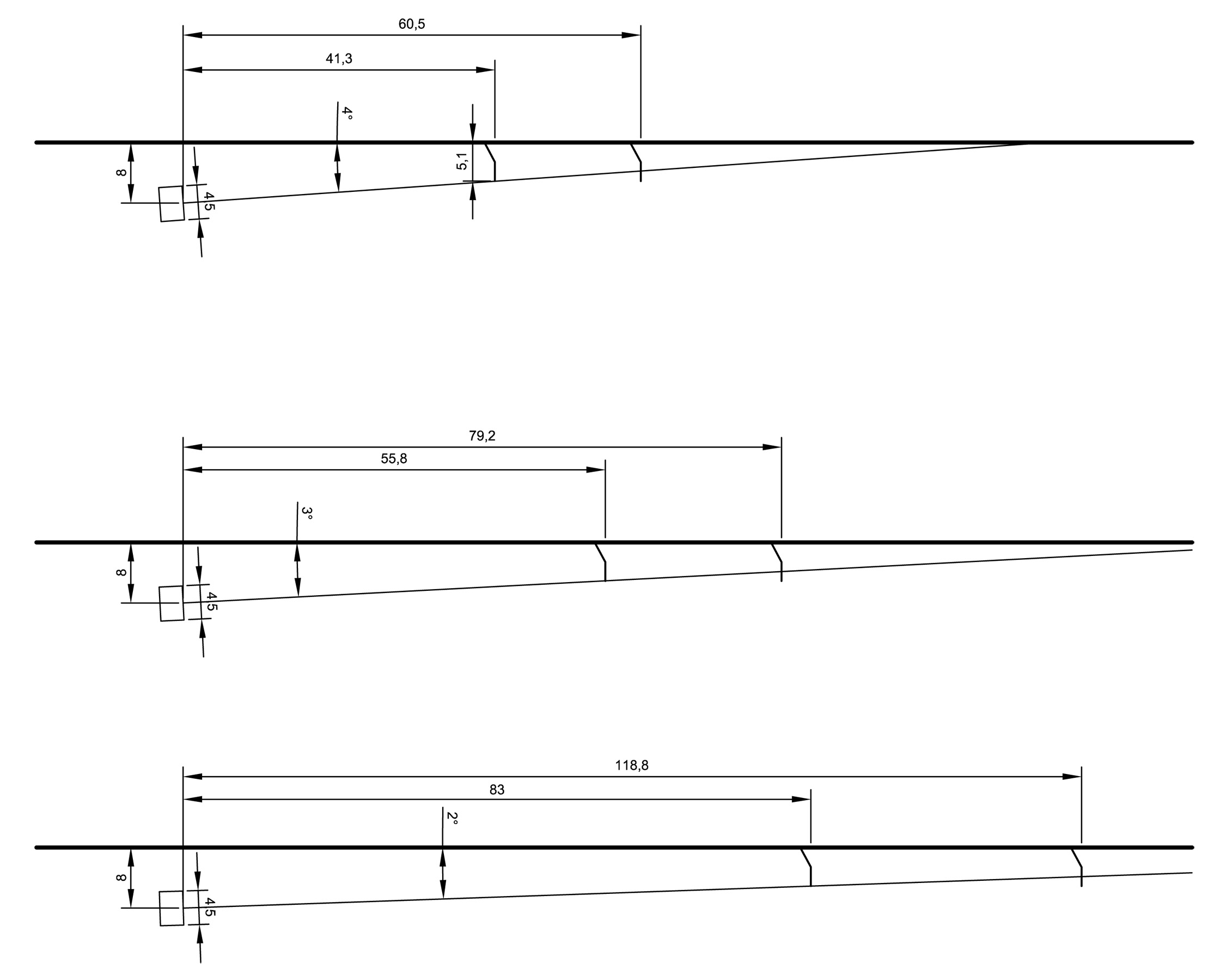
RobertGizycki Opublikowano 19 Stycznia 2012 Zgłoś Udostępnij Opublikowano 19 Stycznia 2012 Pomyślałem, że podłącze się pod temat. Czytałem różne artykuły na temat zbrojenia. W jednych mówi się o tym alby spadająca linka wpasowywała się w przelotki (patrz Koncepcja 1) natomiast w innych sugeruje się takie rozmieszczenie aby przedłużenie osi szpuli kołowrotka przebiegała po dolnej krawędzi przelotek (patrz Koncepcja 2).W weekend czeka mnie zbrojenie kolejnej wędki - tym razem 9 stopowej pod kołowrotek 3000. Kupiłem komplet przelotek w ramkach LV 30, 16, 10, 8 itd. no ale teraz się zwiesiłem i nie jestem pewien czy czasem nie powinien jej zbroić zaczynając od przelotek typu Y. Czy moglibyście podzielić się swoimi spostrzeżeniami na ten temat? W którym przypadku, osiągniemy dalszy zasięg rzutów? I czy lepiej używać przelotek Y czy LV. Z góry dziękuje za rady. Cytuj Odnośnik do komentarza Udostępnij na innych stronach Więcej opcji udostępniania...
Darc Opublikowano 20 Stycznia 2012 Zgłoś Udostępnij Opublikowano 20 Stycznia 2012 Trutta, Robert wyśmienicie odpowiedział na Twoje pytanie.Rodbuilderzy (ci zawodowi) stosują głównie drugi sposób zbrojenia + jeszcze to o czym pisał Friko, że ma wyglądać.Efekt końcowy ma wtedy niewiele wspólnego z NGC.Ortodoksyjny NGC opiera się na pierwszym rysunku Roberta i wtedy to działa. Wszystkie modyfikacje powodują mniejsze lub większe zaburzenia i potem jest gadanie, że coś jest nie tak z tym NGC.Ja stosuję tą koncepcję nawet w kijach 11' i jest ok. Owszem wychodzi na szczycie 4 lub 5 przelotek #7, #6 lub #5 (w zależności od rodzaju kija), ale nad wodą to nie przeszkadza.Za to zyskuje się na czułości kija i jego dynamice.Kwestie wizualne to już sprawa indywidualna. Ja naprzykład do tej pory nie pogę pojąć po co stosuje się podwójną #8 lub #7 w połowie kija??? darc Cytuj Odnośnik do komentarza Udostępnij na innych stronach Więcej opcji udostępniania...
Friko Opublikowano 20 Stycznia 2012 Zgłoś Udostępnij Opublikowano 20 Stycznia 2012 Na kijach 11' powiadasz? Ciekawa sprawa, chętnie był zobaczył te kijki - widzę ze jesteś z okolicy, może wpadniesz z nimi na jakieś spotkanie? Ortodoksyjnego stożka czy to wg Fuji czy to wg new concept primer RBO, nie widziałem jeszcze zbudowanego na więcej niż 3 przelotkach. Zakładając nawet, że jakimś cudem taki stożek udałoby się zbudowac na 4 przelotkach, to przy 11 stopowym kiju zostanie jeszcze jakieś 7-8 przelotek (6-7 running guides + top). A raczej zostanie więcej, bo takie stożki jak na rysunkach w praktyce wychodzą bardzo krótkie. Oprócz plecionki, i to niezbyt grubej, jakoś srednio wyobrażam sobie rzucanie czymś takim powiem szczerze, przynajmniej na prototypach które robiłem swego czasu była dętka Wszystko bierze się stąd że kąty nachylenia kołowrotka, przynajmniej w przypadku Daiwy, są bardzo ostre w sosunku do blanku, i przecięcie przedłużenia osi kołowortka wypada na blanku stosunkowo nisko. Jesliby trafić model kołowrotka który nie jest tak ostro nachylony w stosunku do blanku, punkt przecięcia wypadałby dalej, i możnaby budować dłuższe stożki - zostawałaby mniejsza ilośc running guides na szczytówce. Ja szukam... Cytuj Odnośnik do komentarza Udostępnij na innych stronach Więcej opcji udostępniania...
Darc Opublikowano 20 Stycznia 2012 Zgłoś Udostępnij Opublikowano 20 Stycznia 2012 Friko,pierwszy przykład - kluska St. Croix 10'6 dł. 2-7gr c.w. pierwotnie uzbrojona: V25, V20, V16, V12, V10, V8, 3 x V7 + top 7.Ja dałem taką rozmiarówkę: Y25, Y12, V8, L7, L6, L5, 5 x L4,5 + top 4,5.Kluska to kluska i szpady z niej nie da się zrobić, ale teraz jest w moim odczuciu o jakieś 30% bardziej dynamiczna. Oczywistą oczywistością jest dla mnie, że zawsze i wszędzie nie da się zastosować NGC, ale nazywanie tym określeniem różnych modyfikacji, co szęsto się spotyka, też nie jest właściwe i chyba stąd tyle nieporozumień.pozdr. Cytuj Odnośnik do komentarza Udostępnij na innych stronach Więcej opcji udostępniania...
Friko Opublikowano 20 Stycznia 2012 Zgłoś Udostępnij Opublikowano 20 Stycznia 2012 Ok, dzieki za info.Wyglada to troche jak pisałem, masz stożek na 3 przelotkach, kończy się na LV8, potem jest taka przejściówka L7, potem masz siedem sztuk małych przelotek prowadzących ( L6, L5, 4x L4.5 ) i ósmą n top. To że kij jest lżejszy to oczywiste, ale czy rzuca Cytuj Odnośnik do komentarza Udostępnij na innych stronach Więcej opcji udostępniania...
Darc Opublikowano 20 Stycznia 2012 Zgłoś Udostępnij Opublikowano 20 Stycznia 2012 Sięgnąłem do notatek i tak przedstawia się łączna waga przelotek na szczytówce: - w fabrycznym uzbrojeniu 7 przelotek + top - 4,42g, - w nowym uzbrojeniu 9 przelotek + top - 1,87g.Różnica kolosalna - 2,55g czyli masa przelotek na szczytówce zmniejszyła się o 57%W fabrycznym uzbrojeniu kijem tym dawało radę rzucać żyłką do śr. 0,2mm, ale bez jakiejś optymalnej średnicy.Obećnie optimum to zawęziło się do śr. 0,14-0,16mm, co przy górnym zakresie jest aż nadto bo kij można zamknąć koło.Rzuty wydłużyły się, ale nie wiem czy aż tak bardzo bo śr. o jakieś 5-7m.Zyskała za to dynamika i czułość kija i tu trudno mi powiedzieć ile, ale odczuwalnie dużo.Podsumowując jestem bardzo zadowolony z uzyskanego efektu.pozdr. Cytuj Odnośnik do komentarza Udostępnij na innych stronach Więcej opcji udostępniania...
Krzysiek_W Opublikowano 20 Stycznia 2012 Zgłoś Udostępnij Opublikowano 20 Stycznia 2012 Gdyby zamknąć oczy, posłużyć się tylko receptami o których tu mowa i pobawić się w aptekarza, to wg. FNGC oś przelotek pokrywa się z osią szpuli. Wg. NGC i NGC Primer z RBO krawędzie przelotek pokrywają się z osią szpuli. Proponuję wykonać próbę i sprawdzić ile centymetrów trzeba przesunąć tą samą rozmiarowo przelotkę w górę zaczynając zabawę od FNGC aby wpasować się w NGC. To będzie ładnych kilka centymetrów. Co do tak długich kijów. Stożki ze wszystkich tych metod mają tą podstawową wadę, że są sztywne. Tak jak pisał Friko, niezależnie od tego czy kija ma 6’ czy 11’ stożek musiałby być taki sam i kończył by się w tym samym miejscu. Gdyby chcieć zrobić bardzo długi stożek adekwatny do długości kija wg. powyższych recept, to wyznaczając położenie „choker guide” nie da się zrobić tego metodami takimi jak przecięcie osi szpuli z osią kija, tudzież używanie mnożników średnicy szpuli, bo zawsze dostaniemy takie same wyniki. Żeby uzyskać taki odpowiednio długi stożek, albo trzeba by stosować bardzo mały skok rozmiarówek w kolejnych przelotkach, albo w ogóle zacząć od większych niż potrzeba, albo zmodyfikować je zwiększając ich wysokość. Niestety zabawa w aptekarstwo kończy się kiedy kijek poddaje się ugięciom i zaczyna przesuwać przelotki, tak jak podpowiada intuicja i oko. Jeśli do tego kijek ładnie rzuca to nie wiem czy jest sens przejmować się posiadaniem super centrycznego stożka wg. jakiejkolwiek koncepcji. Cytuj Odnośnik do komentarza Udostępnij na innych stronach Więcej opcji udostępniania...
Darc Opublikowano 20 Stycznia 2012 Zgłoś Udostępnij Opublikowano 20 Stycznia 2012 Ależ oczywiście, że masz racje.Tak jak napisałem, obserwuję, że wiele nieporozumieć wynika z błędnie stosowanej nomenklatury. Często widzę, że każdy układ przelotek zaczynający się np. od co drugiej jest zaliczany do NGC. Co raczej mija się z prawdą.Ta koncepcja, jak każda ma swoje ograniczenia, ale są też sytuacje, gdzie spawdza się świetnie.I chyba od naszego wyczucia zależy czy jesteśmy w stanie dokonać optymalnego wyboru w tej kwestii.pozdr. Cytuj Odnośnik do komentarza Udostępnij na innych stronach Więcej opcji udostępniania...
Krzysiek_W Opublikowano 20 Stycznia 2012 Zgłoś Udostępnij Opublikowano 20 Stycznia 2012 Dodatkowo, gdyby chcieć za każdym razem posługiwać się tymi metodami, to należałoby to robić z konsekwencją od początku do końca. Należałoby się zmierzyć wtedy się z takimi oto dylematami. A gdzie tu mowa o statycznym teście ugięcia, który i tak prawdopodobnie zmieni koncepcję. Blank nie wie o tym, że ma mieć charakterystykę ugięcia dopasowaną do geometrii stożka. Cytuj Odnośnik do komentarza Udostępnij na innych stronach Więcej opcji udostępniania...
Friko Opublikowano 20 Stycznia 2012 Zgłoś Udostępnij Opublikowano 20 Stycznia 2012 Ja bym chciał powrócić do kwesti kołowrotka jeszcze, zasygnalizowanej już przeze mnie a rozrysowanej przez Krzyśka. Bo w sumie to może być ta zmienna właśnie, która pozwoliu uzyskać ruchomośc stożka wg założeń zgodnych z NGC czy NGC Primer RBO. Porównywałem, na razie tylko na oko Shimano z Daiwa i powiem szczerze wydaje mi sie że Shimano ma mniejszy kąt nachylenia w stosunku do kija, czyli powinno umożliwiać tworzenie dłuższych stożków. Jeszcze chwila i dojde do wniosku, że Daiwa jest dobra do króciaków a Shimano do dłuższych patyków Cytuj Odnośnik do komentarza Udostępnij na innych stronach Więcej opcji udostępniania...
RobertGizycki Opublikowano 20 Stycznia 2012 Zgłoś Udostępnij Opublikowano 20 Stycznia 2012 Jest z tym jak widać trochę zabawy . Zapytałem dlatego bo sam mam wędki z pracowni oraz ze sklepu i mogę powiedzieć, że rozmieszcznie przelotek na każdej z nich nie pasuje ani do jednego ani do drugiego konceptu... Rozumiem też, że mogę wędkę uzbroić według konceptu 2 zaczynając od przelotki LV30 a następnie LV16, L10, LV8 i że nie koniecznie muszą być to popularne Y? Cytuj Odnośnik do komentarza Udostępnij na innych stronach Więcej opcji udostępniania...
Friko Opublikowano 20 Stycznia 2012 Zgłoś Udostępnij Opublikowano 20 Stycznia 2012 Oczywiście że nie, moim zdaniem istotne są założenia koncepcyjne o których mowa powyżej, a nie nazwa ramki przelotki. Moim zdaniem tak długo jak będziesz trzymał się w/w założeń koncepcyjnych, możesz dowolnie mieszać typy przelotek i dalej będzie to new concept. Ale w sumie czy to ma znaczenie ? Ważne żeby kij był efektywny przy rzucie, bezpieczny przy holu dobrze wyważony i czuły przy prowadzeniu przynęty. Cytuj Odnośnik do komentarza Udostępnij na innych stronach Więcej opcji udostępniania...
zorro Opublikowano 20 Stycznia 2012 Zgłoś Udostępnij Opublikowano 20 Stycznia 2012 Tak sobie poczytuję (różne wątki co prawda ale konkluzje takie więcej uniwersalne więc padło na ten ) i coraz szerzej oczy mi się otwierają...Czy nie sądzicie, że choćby z tymi przelotkami, to zaczyna zakrawać na jakieś szaleństwo..? I w co drugim, trzecim zdaniu: MAKSYMALNE wykorzystanie, NAJDŁUŻSZE rzuty, blank taki LEPSZY niż siaki, a cośtam, to NAJLEPSZE, a do TAKIEGO zbrojenia, to tylko taki kołowrotek... I same tylko super, hiper, najlepsze, wyjątkowe, indywidualne, optymalne, jedyne, niepowtarzalne i łomatkoboska... I jak jestem w stanie zrozumieć takie pierdoły wśród wyczynowców zawodników-rzutowców, to nie bardzo wierzę, że my, zwykli zjadacze rybkowego chleba, jesteśmy w stanie (o możliwościach już nie wspomnę) wyczuć różnicę pół grama w łącznej wadze przelotek albo wyczuć przez rekawiczki różnicę drgań między czterdziestoma a pięćdziesięcioma milionami modułku grafitowego..? No chyba, że jednak jestem już całkiem głupi i nie dorastam... <_< Cytuj Odnośnik do komentarza Udostępnij na innych stronach Więcej opcji udostępniania...
Krzysiek_W Opublikowano 20 Stycznia 2012 Zgłoś Udostępnij Opublikowano 20 Stycznia 2012 @zorro, z jednej strony jest tak jak piszesz. Z drugiej, jeśli dasz wciągnąć, to traktujesz to jak inne rzeczy, które bardzo Cię absorbują i poświęcasz im dużo uwagi. Jest zima i czasu na przemyślenia więcej, na pomysły i realizacja planów. Taka dyskusja mieści się w kanonie innych podobnych, toczących się w miejscach o podobnej tematyce, w otchłani sieci. Cytuj Odnośnik do komentarza Udostępnij na innych stronach Więcej opcji udostępniania...
zorro Opublikowano 20 Stycznia 2012 Zgłoś Udostępnij Opublikowano 20 Stycznia 2012 Pewnie masz Pan rację, Panie Krzysiu ale mnie to trochę przerasta... Tak mi się trochę też skojarzyło z innym forum gdzie ludziska do strzelania na 50 metrów z wiatrówki do kapsli, deliberują czy lepsza siatka Dragunowa czy krzyż niemiecki, czy tam inny dot-srot, a czy powiekszenie 12 starczy, czy od razu musi być 30 tactical, no i takie bzdety... A gadają o lupach jak słoiki do walenia na kilometr-półtora.. A jest przeważnie tak, że jak chłopu ręce latają, to i z dwudziestu metrów nie tylko kapsla ale i całej flaszki od piwa nie trafi.. I tak też jest trochę i z tym budowaniem wędek... <_< Cytuj Odnośnik do komentarza Udostępnij na innych stronach Więcej opcji udostępniania...
dzepetto Opublikowano 20 Stycznia 2012 Zgłoś Udostępnij Opublikowano 20 Stycznia 2012 No chyba, że jednak jestem już całkiem głupi i nie dorastam... <_< Najwidoczniej nie dorastasz... Sorry, ale trzeba być kompletnym laikiem, żeby nie wyczuć różnicy w holowaniu 30-cm pstrąga na 40-milionowym module a 60-cm pstrąga na 54-milionowym module Cytuj Odnośnik do komentarza Udostępnij na innych stronach Więcej opcji udostępniania...
RobertGizycki Opublikowano 20 Stycznia 2012 Zgłoś Udostępnij Opublikowano 20 Stycznia 2012 Tak sobie poczytuję (różne wątki co prawda ale konkluzje takie więcej uniwersalne więc padło na ten ) i coraz szerzej oczy mi się otwierają...Czy nie sądzicie, że choćby z tymi przelotkami, to zaczyna zakrawać na jakieś szaleństwo..? I w co drugim, trzecim zdaniu: MAKSYMALNE wykorzystanie, NAJDŁUŻSZE rzuty, blank taki LEPSZY niż siaki, a cośtam, to NAJLEPSZE, a do TAKIEGO zbrojenia, to tylko taki kołowrotek... I same tylko super, hiper, najlepsze, wyjątkowe, indywidualne, optymalne, jedyne, niepowtarzalne i łomatkoboska... I jak jestem w stanie zrozumieć takie pierdoły wśród wyczynowców zawodników-rzutowców, to nie bardzo wierzę, że my, zwykli zjadacze rybkowego chleba, jesteśmy w stanie (o możliwościach już nie wspomnę) wyczuć różnicę pół grama w łącznej wadze przelotek albo wyczuć przez rekawiczki różnicę drgań między czterdziestoma a pięćdziesięcioma milionami modułku grafitowego..? No chyba, że jednak jestem już całkiem głupi i nie dorastam... <_< Gdyby było prawdą to co mówisz, nikt nie składałby sobie wędek. Zwykły teleskop kupiony na targowisku pokrywał by potrzeby wszystkich wędkarzy. Sam wiesz, że tak nie jest... Jeśli już coś robię, staram się robić to najlepiej dlatego pytam tutaj o wiele rzeczy. Czy jest coś w tym złego? Cytuj Odnośnik do komentarza Udostępnij na innych stronach Więcej opcji udostępniania...
Rekomendowane odpowiedzi
Dołącz do dyskusji
Możesz dodać zawartość już teraz a zarejestrować się później. Jeśli posiadasz już konto, zaloguj się aby dodać zawartość za jego pomocą.